
咨詢電話:0791-88359008
售后電話:0791-88307187
市場監督:0791-88309898
傳真號碼:0791-88310011
咨詢服務QQ:
(江西洗地機廠家)



洗地機車輪的防水設計
洗地機自產生后,一代代洗地機人對其進行改進,唯有車輪一直沒什么變動。目前的洗地機車輪都是單純的采用塑料密封蓋遮擋外側,只起到防塵和美觀作用,還達不到防水的需求。軸承的密封圈只是起防護潤滑油和平墊片擋住滾柱,但不能防止水汽進入整個軸內。洗地機是用水與各種去油污的化工試劑進行混合對地面進行清洗,由于洗地機的車輪擔負著洗地機的移動與行走,長時期與水及各種清洗液接觸,這些液體極易從車輪的內側進入車輪內部而造成對車輪軸承的腐蝕,導致整個軸承銹蝕,滾動困難的問題。如損壞了軸承,而使洗地機不能移動或行走,需要對車輪進行更換,其使用成本比較高。
另外,現有的駕駛式洗地機的車輪外蓋是塑料蓋,并通過塑料蓋邊緣鑲有絲牙與車輪固定,其生產加工成本高且塑料蓋彈性差、易老化,并且不易安裝,也不能有效預防水蒸汽進入軸套內部而損壞軸承。
本實用新型就是要解決上述不足,提供一種使用期限長、裝備簡單的洗地機的防水車輪。
為了達到上述效果,本實用新型提供一種洗地機的防水車輪,包括輪子、軸承、軸芯,以及設于所述軸承外側且固定在軸芯端頭的外密封蓋,所述軸承的內側設有內密封蓋,所述內密封蓋的內沿卡套在軸芯上,內密封蓋的周邊固定在所述輪子的內側。位于軸承內側的軸芯上依次設內隔擋與凹槽,所述內密封蓋的內沿卡套在所述凹槽中;所述內隔擋位于內密封蓋與軸承之間。所述內密封蓋的邊緣外周設有聚氨酯凸環,所述內密封蓋通過凸環嵌入所述輪子內側固定。內密封蓋通過凸環而直接嵌入軸承孔內,使其與
輪子鑲嵌的十分牢固。所述內密封蓋的中孔直徑比凹槽的直徑大l_2mm,所述內隔擋的直徑比內密封蓋的中孔直徑大5-6mm。內密封蓋的中孔直徑比凹槽的直徑大這樣在車輪走動時,內密封蓋能不隨軸芯的動動而自由轉動。內隔擋的直徑比內密封蓋的中孔直徑大,使其水汽從外面無法進入軸承內部,車身外部的水淋到內密封蓋上,水會順著內密封蓋流入軸芯凹槽內再自動流到地面上再被吸水扒吸走。[0010]所述外密封蓋的邊緣外周設有凸環,所述外密封蓋通過凸環嵌入所述輪子外側固定。
上述方案的優選方案是,所述內、外密封蓋上的凸環的材質是聚氨酯。
本實用新型的組裝是先在輪子的中心孔內裝入軸承,再在軸承孔內裝入軸芯,在軸芯的底端通過螺母與外密封蓋固定,在輪子的另一側再將內密封蓋套上軸芯上的凹槽內,使其能自由轉動。
所以,本實用新型與現有技術相比,具有如下有益效果:
(1)內、外密封蓋邊緣外周均設有由聚氨酯制成的凸環,由于聚氨酯材料具有高回彈性、高耐磨、扯拉強度好,耐水解、耐酸堿性能優越,使其與輪子緊密鑲嵌固定,而使它們易于安裝,并且不易老化,也不易磨損,提高了其使用壽命。
(2)軸芯上設有內隔擋與凹槽,內密封蓋扣設在所述凹槽外周,而內隔擋位于內密封蓋與軸承之間,使軸芯與內密封蓋完美結合,并防止外
界的水汽進入車輪軸承內部。
(3)本實用新型易于裝配,省工省力,降低勞動力成本;
(4)由于車輪設有內、外蓋,避免了軸承的損壞,從而降低維修成本;
(5)本實用新型的外觀設計新穎,美觀大方,使整體車輛外觀更加整潔、舒適。
附圖說明
下面結合附圖和具體實施方式對本實用新型作進一步詳細的說明。
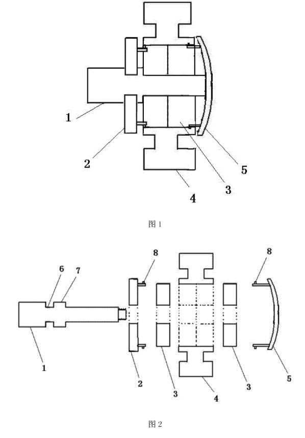
圖1是本實用新型結構剖視圖;

圖2是本實用新型組裝剖視示意圖;
圖中:1-軸芯,2-內密封蓋,3-軸承,4-輪子,5-外密封蓋,6-凹槽,7-內隔擋,8-凸環。
上一篇:洗地機刷盤的安裝方法
下一篇:旭潔洗地機在手,廠房地面清潔我有





