
咨詢電話:0791-88359008
售后電話:0791-88307187
市場監督:0791-88309898
傳真號碼:0791-88310011
咨詢服務QQ:
(江西洗地機廠家)



【曝光】旭潔解決清污水箱連接難題
洗地機當前的設計中清污兩個水箱通常使用類似皮箱的外用搭扣進行鎖緊,其存在幾個問題:1、搭扣外露,影響洗地機的整體美觀;2、洗地過程中的震動容易導致搭扣松脫;3、遇到地面障礙或不平處,需要抬起機器前端時,污水箱需要靠搭扣的扣緊力作用下跟隨清水箱一并抬起,經常受力,搭扣容易老化斷裂;4、搭扣需要手動進行鎖緊或打開,操作復雜。
洗地機廠家旭潔環保針對以上難題,早就組織了團隊進行研究,目前來說也算小有成就,和大家做過分享。為了克服現有技術的不足,本公司設計了一種內藏式的洗地機清水箱和污水箱自動鎖緊結構,操作簡單快捷、牢固可靠。解決其技術問題所采用的技術方案是:
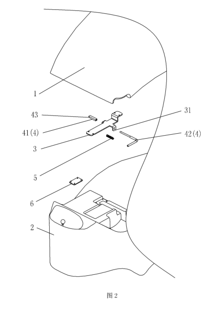
一是洗地機水箱自動鎖緊結構,包括清水箱和污水箱所屬清水箱內側的閉合端面上設置有鎖扣結構,所屬鎖扣結構包括帶有兩支耳的固定板、滑動連接在兩支耳之間的拉桿以及可帶動拉桿復位的彈簧;污水箱內側的閉合端面上設置有鎖扣板,所屬拉桿的端部插入所屬鎖扣板下方將清、污水箱鎖緊閉合。
作為本次成果的改進,所述拉桿端部設置有斜面。
作為本次成果的進一步改進,所述拉桿包括插入鎖扣板下方的鎖扣銷以及與鎖扣銷端部固定連接的鎖扣拉桿,所述彈簧套裝在所述鎖扣拉桿上。
本次成果的有益效果是:本次成果在清、污水箱內側的閉合端面上對應設置有鎖扣結構和鎖扣板所形成的鎖緊結構,由于該鎖緊結構內置在清、污水箱的閉合端面中,不會外露,故不影響洗地機的外觀;而且只需拉動拉桿即可實現清、污水箱的鎖緊或打開,操作簡單快捷;同時,鎖緊結構的設計牢固可靠,不會隨機器的震動或受力的影響而松脫或斷裂;當拉桿端部設置斜面時,在清水箱重力作用以及斜面的導向作用以及下,無需拉動拉桿,即可實現清、污水箱的自動鎖紫。本次成果操作簡便,可廣泛適用于各種帶有清水箱污水箱翻轉閉合結構的手推式洗地機。
附圖說明
下面結合附圖和實施例對本次成果進一步說明。

圖1是本次成果的清水箱污水箱打開狀態示意圖;

圖2是本次成果拆分結構示意圖。具體實施方式
參照圖1、圖2,一種洗地機水箱自動鎖緊結構,包括清水箱I和污水箱2,所述清水箱I內側的閉合端面上設置有鎖扣結構,所述鎖扣結構包括帶有兩支耳31的固定板3、滑動連接在兩支耳之間的拉桿4以及可帶動拉桿4復位的彈簧5 ;所述污水箱2內側的閉合端面上對應設置有鎖扣板6,所述拉桿4的端部插入所述鎖扣板6下方將清水箱污水箱1、2鎖緊閉合。
本實施例中,所述拉桿4包括可插入鎖扣板6下方的鎖扣銷41以及與鎖扣銷41端部固定連接的鎖扣拉桿42,所述彈簧5套裝在所述鎖扣拉桿42上。作為本次成果的優選實施方式,拉桿4的鎖扣銷41端部設置有斜面43。
組裝時,將鎖扣拉桿42、鎖扣銷41分別穿過固定板3兩端的支耳31,將彈簧5套裝在鎖扣拉桿42上,然后將鎖扣拉桿42與鎖扣銷41固定連接。
當需要打開清水箱污水箱時,拉動鎖扣拉桿42,拉桿4在支耳31中向外側滑動,鎖扣銷41離開污水箱2上鎖扣板6,清水箱污水箱翻開;當需要將兩者扣合吋,只需翻轉關閉清水箱,由于鎖扣拉桿42端部有斜面43,在清水箱重力及斜面43的導向作用下,鎖扣拉桿42自行向外側滑動,并在彈簧5的復位作用下,鎖扣銷41端部卡入鎖扣板6下方,此時,整個清水箱污水箱處于穩固狀態,不會隨著機器的震動或受力而自行打開。
本實施例中,所述固定板3跨接固定在清水箱內側的充電器7上,這樣,固定板不僅起到拉桿支架的作用,還可以起到固定充電器7的作用,結構設計簡單緊湊。
本次成果在清水箱污水箱內側的閉合端面上對應設置有鎖扣結構和鎖扣板所形成的鎖緊結構,由于該鎖緊結構內置在清水箱污水箱的閉合端面中,不會外露,故不影響洗地機的外觀;而且只需拉動拉桿即可實現清水箱污水箱的鎖緊或打開,操作簡單快捷、鎖緊牢固可靠,可廣泛適用于各種帶有清水箱污水箱翻轉閉合結構的洗地機。
上一篇:【揭秘】旭潔洗地機研發新成果曝光
下一篇:洗地機刷盤的安裝方法





